将融中设为星标⭐ 第一时间获取最新推送
本文4488字,约6.5分钟
作者 | 王涛 编辑 | 吾人
(ID:thecapital)
2021年,7.20那场史无前例的暴雨降临,让郑州无数的居民流离失所。灾难无情人有情,短短十天内慈善基金们相继出手,共计13.46亿元进入郑州灾区。
而像这样的例子还有很多。慈善基金已经成为每个国家必不可缺的重要设施,应用在扶贫、救灾、教育、医疗等多个领域中。
根据数据显示,国内目前注册的基金会超9600家,2021年时,这些慈善基金规模已达到2400多亿元,甚至部分基金会资产规模高达20亿元。
鲜为人知的是,这些“爱心钱”也是私募股权投资中的一类资金来源。过去,已经有不少慈善基金开始涉足股权投资领域。
而就在前不久,慈善基金投资的话题再次吸引了人们的注意。
在中国证券投资基金业协会长期资金委员会成立暨第一次工作会议上,证监会副主席方星海指出,长期资金对资本市场长期健康发展具有重要意义,期待以社保基金、保险资金、银行资金、公益慈善资金等为代表的长期资金,按照市场化原则,进一步加大对股权创投基金的配置比例。
而这也是公益慈善基金首次作为股权创投基金的长期资金被监管层提出。
尽管在此前,公益慈善基金是创投市场中一项非常小众的资金来源,但随着本次监管层发话,慈善基金大规模进入创投圈的日子可能要来了。
01
慈善基金
涌入创投圈
在如今资本寒冬背景下的今天,个人投资者投资欲望低,除小部分头部投资机构外,中小机构往往面临募不到资的窘境。僧多肉少,这时受苦受难的投资人们往往想的是,如果有新的长期资金出现就好了。
而事实上,各类慈善基金就是最适合参与投资的基金之一。
可能有些人会有疑问,慈善基金一般都是不追求收益的,参与股权投资可以吗?答案是可以。依据2004年国务院颁布的《基金会管理条例》中规定,基金会可以以安全、合理等方式对基金会资产进行保值增值。也就是说,慈善基金是被允许参与投资的。
但是我国各资管机构并没有对其展现重视的态度。反观海外欧美等地区的慈善基金,不论公募还是私募,它们的投资都很积极主动,尽管投资失败导致亏损的案例不在少数,但是从长期来看,其投资产生的效果仍是正面的。据悉在美国,捐赠和慈善基金是风险资本的第三大来源,仅次于养老基金和金融保险。
再来看一下我国慈善基金的情况,以东方基金会为例,2010年时东方基金会净资产是1383亿,投资收益32亿,投资收益率只有2.3%,远低于低风险的银行理财。而这也是目前国内大多数慈善基金会的普遍现状。很多基金会的资金就趴在账上没有进行任何的运作。
而这一选择的原因很简单就是为了避免风险。国有资本的投资失败会被追责,甚至有造成国有资本流失的风险。而慈善基金在这方面的要求同样很严格。
根据《基金会管理条例》第二十九条规定,公募慈善基金会每年用于公益事业的开支不得低于上年总收入的70%。因此,公益慈善基金会要确保年度慈善活动支出和捐赠财产及时足额拨付的前提下,才能开展投资活动。
对于公募慈善基金会而言,本身剩余可用于投资的资金体量不大的情况下就很难投一些高收益的,周期比较长的资产。同时,这些慈善基金普遍缺少投资能力,因此投资失败的担责是所有慈善基金不想面对的状况。也因此,大部分慈善基金会偏好“货币基金”、“一年期内银行理财产品”、“信托计划”等稳健利小的短期投资。
但是,根据《2023中国基金会资产保值增值投资管理报告》,截至2022年底,国内已注册基金会数量达到9620家,其中非公募基金会占比达71%,公募基金会占29%。从总资产来看,基金会净资产规模在2021年达到了2402.25亿元的规模。另有数据显示,资产规模在10亿—20亿元之间的有21家,大于20亿元的有12家,主要为大学基金会,以及个别家族基金会。
根据证券时报对我国各大慈善基金规模的梳理,截至2022年12月31日,中华慈善总会资产总额约为25.3亿元,中国乡村发展基金会(原中国扶贫基金会)的总资产约为20亿元……
这笔巨额的资金,如果进入创投市场,无疑会成为一股新的金融活水,为优秀企业的孵化添砖加瓦。尤其是在如今资本寒冬背景的当下。而且,随着抗灾意识的增强,未来的慈善基金规模将会更大幅度地上升。
中国证券投资基金业协会党委书记、会长何艳春此前也提出,随着资管净值化转型加快,包括公益慈善资金在内的中长期资金资产配置需求不断增强,股权创投基金将获得更加长期、多元的资金来源。
无独有偶,今年全国两会上,全国政协委员金李也提交了一份提案,建议放宽社保基金等中长期资金投资风投领域的比例限制,其中,对于部分慈善公益性质的资金,比如大学教育基金会,亦可在合规前提下放宽限制,以此鼓励更多资金配置股权投资。
随着越来越多的专业人士发声,慈善基金业内人士或许会带来新的探索和尝试。
参与投资是对现有资产的充分利用,对慈善基金来说是一种“锦上添花”。投资顺利,资产规模增加,对于慈善事业的支出比重也会更高。同时,通过参与投资孵化,被投的优秀企业也能得到快速发展,最后利国利民。
但是,慈善基金毕竟是有温度的“爱心钱”,大规模进入冰冷的资本市场是否合适还仍是个问题。毕竟慈善基金的主要业务仍是救急扶危,若因为参与投资而导致主业乏力则会有些得不偿失。
因此,如何科学地利用这些做慈善的钱进行投资,成为基金会们有待商榷的难题。
02
已有慈善基金参与投资
收获一批IPO天团
事实上,已经有慈善基金开始做投资的初步尝试,只不过数量较少。
2023年5月,无锡德耀盛投资企业发生变动。根据企查查,公司原始合伙人金百临投资管理有限公司退出,三名新的合伙人加入。
而这3名合伙人的身份分别是无锡灵山慈善基金会、北京春苗慈善基金会、浙江香海慈善基金会。简单来说,就是这三家慈善基金会做了无锡德耀盛的LP。
值得一提的是,对于无锡灵山慈善基金会和北京春苗慈善基金会来说,这次的投资并不是第一次涉及股权投资领域。在此之前,无锡灵山慈善基金会已经完成6次对外出资事件,而北京春苗慈善基金会也在之前完成了首次对外的投资活动。
事实上,已经有很多慈善基金会“悄悄地”参与股权投资。
至于为什么要说是悄悄地,我国《慈善组织保值增值投资活动管理暂行办法》规定,慈善基金无法像VC、PE们那样参与直投。也因此,我们在创投市场很少看到慈善基金的身影出现。
但也正因存在感低的原因。当所有人的目光都被VC、PE、CVC勾过去的时候,慈善基金已经悄悄发展到一个庞大的规模。
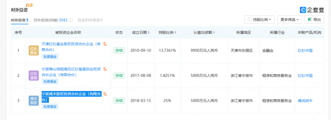
南都公益基金会成立于2007年5月11日,是一家经民政部批准成立的全国性非公募基金会。
根据企查查,成立至今对外直接投资只有3起,包括以LP的身份两次对VC巨头红杉中国和一次对禹闳资本。但是其间接投资数量却高达惊人的3042起。
而这其中就包括像合恩医疗、博沃思教育等明星企业和中一检测、贝泰妮、零跑汽车、博瑞医药等13家已IPO公司。这样的上市企业。当然也包括像真格基金这类的投资机构。
根据梳理,记者发现,大多数慈善基金都是像南都公益基金会这样,直接投资少但间接投资多。
比如上海市慈善基金会,2009年分2次参股上海盛太投资,2次参股后当前持股100%。盛太投资对外投资事件共13起,间接持股公司187家;
说起慈善基金会的投资,不得不提到一个名为爱佑慈善基金会的存在。
爱佑慈善基金会创立于2004年,在全国范围内开展项目,是中国首家注册成立的非公募基金会。2018年5月,爱佑取得公开募捐资质,正式成为全国性公募基金会。如名字一样,爱佑是一家主要深耕在儿童领域的慈善基金会。
根据梳理发现,爱佑慈善基金会对外直接投资高达13起。包括高榕资本、清科创投、正新谷资本、五源资本等投资机构。间接投资多达5000余起,在慈善基金大家族中算得上十分活跃的机构。其中,爱佑慈善基金通过这些投资机构间接投资了446家公司,其中有19家公司已经完成了IPO。
值得一提的是,就在2018年,由爱佑资本创办,中国首个公益VC支持计划正式落地。根据机构理事长的介绍,爱佑公益VC支持计划是在爱佑此前资助的115家机构中,选出各垂直领域的翘楚,优中选优,找出更加头部,更具有引领性,能产生更大社会影响力的小伙伴,并对他们进行赋能、支持。简单来说,就是爱佑背后的理事单位作为LP出资,爱佑作为GP投资。值得一提的是,负责此业务的理事长王兵曾在投资界混迹多年,对新浪、腾讯、阿里巴巴、分众传媒、百度、携程等都有过投资。
像上述这样慈善基金涉及股权投资领域的案例还有很多。河仁慈善基金会、湖北省弘愿慈善基金会、白求恩公益基金会……相信在不久后,会有更多的慈善基金参与到股权投资中去。
03
高校教育基金
慈善基金中的一只投资主力军
在众多慈善基金中,如果说哪只基金在投资领域做的最好,那无疑是高校教育基金。无论从出资次数还是出资规模来看,高校教育基金会都是最多,最活跃的存在。
1994年,清华大学教育基金会正式成立,是国内最早在大陆正式注册成立的大学教育基金会,同时也被称为“国内版的耶鲁大学基金会”。清华大学作为国内“耶鲁模式”最早的借鉴者。在它之后,其他的大学基金会如雨后春笋般接连出现。比如清华大学教育基金会成立后一年,北大教育基金会也随之出现……
值得一提的是,近两年来,清华和北大的基金会加重了在股权融资上的比重,把越来越多的捐赠资金投入VC/PE机构中去。在2019年末,清华大学教育基金会资产中长期股权投资占总额的60.4%,而北京大学教育基金会则占资产总额的49.4%。这两个数字已经超过了作为前辈的耶鲁基金会在股权融资上的比重。
到今天,这些大学教育基金已然成为众多VC/PE机构背后的超级LP。比如清华大学教育基金会已作为LP出资了包括高瓴、弘毅投资、CPE源峰、鼎晖投资、愉悦资本、英诺天使基金、清科母基金、信瑞投资、银杏华清投资基金、源渡创投等众多投资机构;北大大学教育基金会则向高瓴、中信建投、赛富投资、松禾资本等机构出资;上海交通大学教育发展基金会向达泰资本、红杉资本、金沙江创投等进行出资;武汉大学教育基金会向顺为资本、加华资本、元和资本等。像上述这样的例子还有很多很多。
而高校基金会积极参与股权投资原因在于,无论是学校科研经费还是困难生补助和优秀生奖学金亦或是鼓励优秀校友创业,这些项目的背后都需要大规模资金的帮助,单靠校友捐赠和拨款是远远不够的。
因此,可以理解为高校基金会通过参与投资来“赚外快”,然后再用外快钱帮助学校或校友发展。而事实上,在美国高校基金是创投市场上很庞大重要的资金来源,比如高瓴资本的张磊之前就收获耶鲁大学基金会的出资扶持。利用投资赚的钱去扶持学生发展,这又何尝不是教育基金存在的意义呢?
高校教育基金已经成为慈善基金参与股权投资的一只主力军队,而其他慈善基金也在奋力追赶中。
随着时代发展,人们对不可控的灾害以及贫困地区的援助愈发重视。借此,慈善基金会的规模得到大幅度增长。按照2021年的数据,我国共2400亿的慈善基金规模,依据法规拿出30%参与投资那么就是720亿。在当今的资本寒冬下,这一大笔钱难得珍贵。
慈善基金,以投资人的身份用资本带动产业发展,这无疑也属于一种慈善活动。
2023年9月15日,由民政部、国务院国资委、农业农村部(国家乡村振兴局)、全国工商联、中国红十字会总会、中国宋庆龄基金会、广东省政府、深圳市政府和中国慈善联合会共同主办的第十届中国公益慈善项目交流展示会开幕。开幕当天,意向对接重大捐赠项目、消费帮扶产品采购及产业投资等资金逾79 亿元。
这就是一例典型的用慈善带动产业的案例,或许也是中国慈善基金未来投资的特色方式。
END























